تشير أبحاث شركة Apple إلى كيفية قيام AirPods المستقبلية بقراءة إشارات الدماغ
تشير أبحاث شركة Apple إلى كيفية قيام AirPods المستقبلية بقراءة إشارات الدماغ
دراسة جديدة بقلم باحثون من شركة أبل يقدم طريقة تتيح لنموذج الذكاء الاصطناعي التعرف على جانب واحد من بنية النشاط الكهربائي للدماغ دون أي بيانات توضيحية. وإليك كيف.
التحول النسبي PAirwise
وفي دراسة جديدة تسمى “تعلم التركيب النسبي لإشارات تخطيط كهربية الدماغ (EEG) باستخدام التدريب المسبق على التحول النسبي الزوجي“، تقدم Apple PARS، وهو اختصار لـ PAirwise Relative Shift.
تعتمد النماذج الحالية بشكل كبير على البيانات المشروحة من قبل الإنسان لنشاط الدماغ، مما يشير إلى الأجزاء التي تتوافق مع مراحل النوم، وحركة العين السريعة، وغير حركة العين السريعة 1، وغير حركة العين السريعة 2، وغير حركة العين السريعة 3، بالإضافة إلى مواقع بداية ونهاية أحداث النوبات، وما إلى ذلك.
ما فعلته شركة آبل، باختصار، هو الحصول على نموذج لتعليم نفسها كيفية التنبؤ بمدى التباعد الزمني بين أجزاء مختلفة من نشاط الدماغ، بناءً على بيانات أولية غير مصنفة.
من الدراسة:
“يوفر التعلم الخاضع للإشراف الذاتي (SSL) نهجًا واعدًا لتعلم تمثيلات تخطيط كهربية الدماغ (EEG) من البيانات غير المسماة، مما يقلل الحاجة إلى شروح باهظة الثمن للتطبيقات السريرية مثل تنظيم النوم واكتشاف النوبات. في حين أن أساليب EEG SSL الحالية تستخدم في الغالب استراتيجيات إعادة البناء المقنعة مثل أجهزة التشفير التلقائي المقنعة (MAE) التي تلتقط الأنماط الزمنية المحلية، فإن التدريب المسبق على التنبؤ بالموقع لا يزال غير مستكشف على الرغم من قدرته على تعلم التبعيات طويلة المدى في الأعصاب نحن نقدم PAirwise Relative Shift أو PARS pretraining، وهي مهمة ذريعة جديدة تتنبأ بالتحولات الزمنية النسبية بين أزواج نوافذ EEG التي تم أخذ عينات منها بشكل عشوائي.
على عكس الأساليب القائمة على إعادة البناء التي تركز على استعادة النمط المحلي، تشجع PARS المشفرات على التقاط التركيب الزمني النسبي والتبعيات طويلة المدى الكامنة في الإشارات العصبية من خلال التقييم الشامل لمختلف مهام فك تشفير EEG، نثبت أن المحولات المدربة مسبقًا من PARS تتفوق باستمرار على استراتيجيات التدريب المسبق الحالية في كفاءة التسمية ونقل التعلم. الإعدادات، وإنشاء نموذج جديد لتعلم تمثيل EEG الخاضع للإشراف الذاتي.
بمعنى آخر، رأى الباحثون أن الأساليب الحالية تدرب النماذج في المقام الأول على ملء الفجوات الصغيرة في الإشارة. لذلك استكشفوا ما إذا كان الذكاء الاصطناعي يمكنه التعرف على البنية الأوسع لإشارات تخطيط كهربية الدماغ (EEG) مباشرة من البيانات الأولية غير المسماة.
وكما تبين، فإنه يمكن.
في هذه الورقة، يصفون طريقة التعلم الخاضع للإشراف الذاتي للتنبؤ بكيفية ارتباط الأجزاء الصغيرة من إشارة EEG ببعضها البعض في الوقت المناسب، والتي يمكن أن تتيح أداء أفضل في مهام تحليل EEG المتعددة، بدءًا من مراحل النوم وحتى اكتشاف النوبات.
وكانت النتائج واعدة، حيث تفوق نموذج PARS المُدرب مسبقًا أو طابق الأساليب السابقة في ثلاثة من معايير EEG الأربعة المختلفة التي تم اختبارها.
ولكن ما علاقتها بسماعات AirPods؟
كانت هذه هي مجموعات البيانات الأربع المستخدمة في نموذج PARS المُدرب مسبقًا:
- تنظيم النوم القابل للارتداء (EESM17)
- كشف تخطيط كهربية الدماغ (EEG) غير الطبيعي (TUAB)
- كشف النوبات (TUSZ)
- الصور الحركية (PhysioNet-MI).
في مجموعة البيانات الأولى، يشير EESM17 إلى برنامج Ear-EEG Sleep Monitoring 2017، والذي يحتوي على “تسجيلات ليلية من 9 أشخاص مع نظام EEG للأذن قابل للارتداء مكون من 12 قناة ونظام EEG لفروة الرأس مكون من 6 قنوات”.
إليك ما يبدو عليه نظام تخطيط كهربية الدماغ (EEG) للأذن:
في حين أن جهاز تخطيط كهربية الدماغ للأذن يستخدم أقطابًا كهربائية مختلفة من نظام فروة الرأس القياسي، إلا أنه لا يزال بإمكانه التقاط العديد من إشارات الدماغ ذات الصلة سريريًا بشكل مستقل، مثل مراحل النوم وبعض الأنماط المرتبطة بالنوبات.
ونظرًا لاستخدام مجموعة بيانات EESM17 في دراسة أجرتها شركة Apple، والتي تضمنت أجهزة استشعار صحية متعددة على أجهزتها القابلة للارتداء في السنوات الأخيرة، فليس من الصعب تخيل عالم حيث ايربودز احصل على أجهزة استشعار EEG، تشبه إلى حد كبير ايربودز برو 3 حصلت مؤخرًا على مستشعر مخطط التحجم الضوئي (PPG) لاستشعار معدل ضربات القلب.
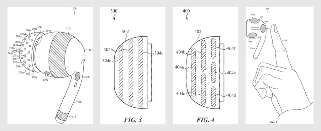
وهنا الركلة: في عام 2023، أبل قدم طلب براءة اختراع من أجل “جهاز إلكتروني يمكن ارتداؤه لقياس الإشارات الحيوية للمستخدم”.
تذكر براءة الاختراع أجهزة تخطيط كهربية الدماغ (EEG) للأذن بشكل صريح كبديل لنظام فروة الرأس، مع عرض حدودها أيضًا:
“يمكن مراقبة نشاط الدماغ باستخدام أقطاب كهربائية موضوعة على فروة رأس المستخدم. قد يتم وضع الأقطاب الكهربائية في بعض الحالات داخل الأذن الخارجية للمستخدم أو حولها. قد يكون من المفضل قياس نشاط الدماغ باستخدام أقطاب كهربائية موضوعة في الأذن الخارجية أو حولها بسبب فوائد مثل تقليل حركة الجهاز وانخفاض رؤية الأقطاب الكهربائية عند مقارنتها بالأجهزة الأخرى التي تتطلب وضع أقطاب كهربائية في مناطق مرئية حول فروة رأس المستخدم. ومع ذلك، للحصول على قياسات دقيقة لنشاط الدماغ باستخدام تخطيط كهربية الأذن. (EEG)، قد يلزم تخصيص جهاز EEG لأذن المستخدم (على سبيل المثال، ربما يتم تخصيصه ليناسب محارة المستخدم، وقناة الأذن، وtargus، وما إلى ذلك)، وقد يحتاج إلى تخصيصه بشكل مختلف لمستخدمين مختلفين، بحيث تظل الأقطاب الكهربائية الموضوعة على جهاز EEG على اتصال مستمر بجسم المستخدم نظرًا لأن حجم الأذن وشكلها يختلفان من مستخدم لآخر، ولأن حجم وشكل أذن المستخدم الواحد وحجم وشكل الهياكل.
مثل قناة أذن المستخدم، قد تتغير بمرور الوقت، حتى جهاز تخطيط كهربية الدماغ المخصص للأذن قد يفشل في إنشاء قياسات دقيقة في بعض الأحيان (أو بمرور الوقت). بالإضافة إلى ذلك، قد يكون جهاز تخطيط كهربية الدماغ المخصص للأذن مكلفًا.
بعد ذلك، تستمر براءة اختراع Apple في حل هذه القيود من خلال تعبئة أجهزة استشعار أكثر مما هو مطلوب منتشرة حول أطراف أذن AirPods، وجعل نموذج الذكاء الاصطناعي يلتقط الأقطاب الكهربائية بأفضل جودة للإشارة باستخدام مقاييس مثل المعاوقة، ومستوى الضوضاء، وجودة ملامسة الجلد، والمسافة بين الأقطاب الكهربائية النشطة والمرجعية.
بعد ذلك، يقوم بتعيين أوزان مختلفة لكل قطب كهربائي لدمج جميع الإشارات في شكل موجة واحد محسّن. تصف براءة الاختراع أيضًا إيماءة النقر أو الضغط التي من شأنها بدء القياسات أو إيقافها، بالإضافة إلى بدائل التصميم والهندسة المتعددة التي من شأنها أن تجعل كل هذا ممكنًا.
أخيرًا، تقول شركة Apple إن “قياسات الإشارة الحيوية، يمكن استخدامها لإعلام المستخدم بمختلف حالات الاستخدام المعتمدة على الإشارة الحيوية، مثل مراقبة النوم أو الحالات الشاذة الأخرى، مثل النوبات”، والتي تعد بشكل عام نفس الأمثلة من الدراسة الجديدة.
ولكن لكي نكون واضحين: الدراسة الجديدة لم تذكر ذلك ايربودز وليس له أي صلة بطلب براءة الاختراع لعام 2023. إنه تحقيق في ما إذا كان النموذج يمكنه تدريب نفسه على تعلم التنبؤ بالفترات الزمنية بين موجات الدماغ من البيانات غير المسماة، وذلك باستخدام قياسات تخطيط كهربية الدماغ للأذن كجزء من مجموعة البيانات الخاصة به.
ومع ذلك، فمن المثير للاهتمام أن نرى شركة آبل تحقق في الأجهزة لجمع هذه البيانات، بالإضافة إلى نموذج الذكاء الاصطناعي الذي من شأنه تحسين ما يحدث لهذه البيانات بعد جمعها. يبقى أن نرى ما إذا كان هذا سيتحول بالفعل إلى منتج أو ميزة.
عروض الجمعة السوداء العظيمة 2025
FTC: نحن نستخدم الروابط التابعة التلقائية لكسب الدخل. أكثر.
■ مصدر الخبر الأصلي
نشر لأول مرة على: 9to5mac.com
تاريخ النشر: 2025-11-28 18:33:00
الكاتب: Marcus Mendes
تنويه من موقع “yalebnan.org”:
تم جلب هذا المحتوى بشكل آلي من المصدر:
9to5mac.com
بتاريخ: 2025-11-28 18:33:00.
الآراء والمعلومات الواردة في هذا المقال لا تعبر بالضرورة عن رأي موقع “yalebnan.org”، والمسؤولية الكاملة تقع على عاتق المصدر الأصلي.
ملاحظة: قد يتم استخدام الترجمة الآلية في بعض الأحيان لتوفير هذا المحتوى.










